or
		
	
	
		owners manual VW Passat
		owners manual VW Passat - year of production: 1995, 1996, 1997 - Official Factory Repair Manual EN
	Document: 
pdf (0 MB) 4313 pages
all ratings: 0 
average rating: 5 
 Download PDF
Click here to download a pdf file with an instruction manual for VW Passat
year of production from: 1995
                
Do you prefer pdf format?
Find out how to download
                
        
                        Enter the code to download PDF file:
                        
                        
                        
                        
                        
        
                        
                        All pages in one PDF file!
How to get the code?
                        It's very simple! Just pay through a secure PayPal payment.
                        It will take no longer than a few minutes.
                        You will receive the code immediately after payment.
                        The code will be displayed on the screen and will be sent to you by e-mail address.
                        
                
:
 
 
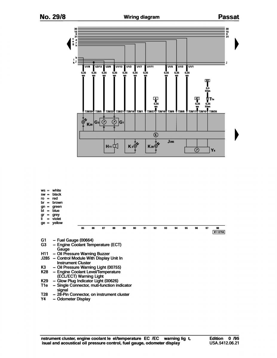
                Official Factory Repair Manual 
pages 212 - 218
        Official Factory Repair Manual 
page 215 / 4313
		
		
                
                
		
this site is maintained by advertising - for view instructions, turn off ad blocking in your browser
                
			
 Download PDF